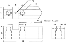
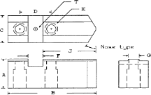
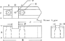
| Critical Dimensions | STEEL | ||||||||
| Vertech Part Number | Chuck Dia. Inches | Groove Width G | Bolt Size |
Center to Center D |
Hole to Front J | Width Inch C | Length Inch B |
Height Inch A |
|
| VPH 6150F | 6" | 0.433 | 5/16 | 0.718 | 1.250 | 1.250 | 3.125 | 1.500 | |
When ordering Steel specify "P" for Pointed or "F" for Flat at the end of the part number. (example: VPH 10250F)
Steel Material: AISI 1018 - not available in aluminum


